Újabb különleges koncepcióval kísérletezik az Honor. A vállalat egy olyan okostelefon szabadalmát tette közzé, amely nem egyszer vagy kétszer, hanem akár négyszer is összehajtható. A dokumentumok szerint a kialakítás az origami hajtogatási logikáját követi, így egy nagy kijelző több ponton hajlana össze, hogy végül zsebben hordható méretű eszközzé alakuljon.
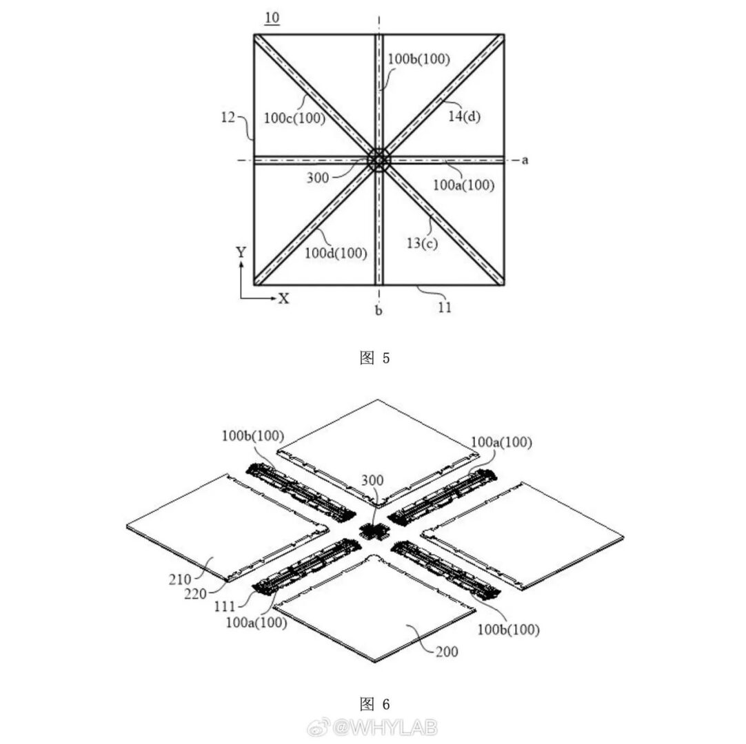
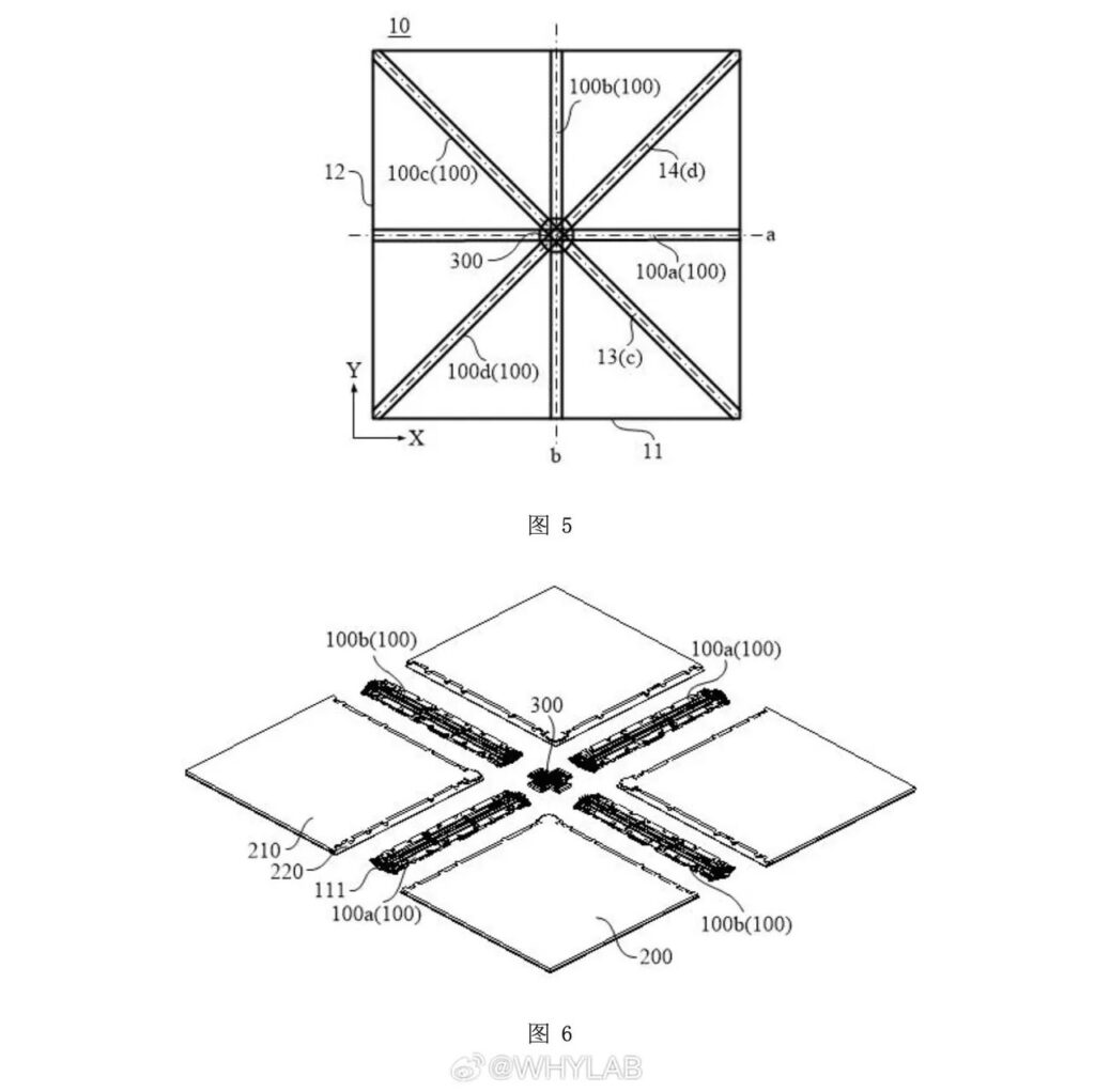
A jelenlegi hajlítható telefonok többsége egyetlen hajtással működik, könyvszerűen nyílik ki, így egy okostelefonból tabletméretű kijelző lesz. A háromszoros hajtás már jóval ritkább és jóval bonyolultabb mérnöki feladat, a négy hajtási ponttal rendelkező konstrukció azonban még ennél is összetettebb megoldást jelentene. A szabadalom alapján a készülék egy több zsanérral működő, egyetlen rugalmas kijelzőből álló panelt használna. A legnagyobb kihívást az jelenti, hogy a kijelzőnek több ponton kellene meghajolnia anélkül, hogy idővel sérülne, erős gyűrődés jelenne meg rajta, vagy a zsanérok pontatlansága miatt deformálódna.
Fontos azonban kiemelni, hogy a szabadalom még nem jelent valódi terméket. A technológiai cégek rendszeresen jegyeztetnek be új koncepciókat, amelyek közül sok soha nem jut el a kereskedelmi megvalósításig. Az viszont egyértelmű, hogy az Honor komoly kutatás-fejlesztési erőforrásokat fordít a hajlítható kijelzők jövőjére. A lépés jól illeszkedik az iparági trendekhez is. A hajlítható telefonok piacán egyre nagyobb a verseny: a Huawei például már háromszor hajlítható készüléket is bemutatott, és a gyártók folyamatosan keresik a következő technológiai ugrást.
Elméletben egy négyszer hajlítható telefon akár közel laptopméretű kijelzőt is kínálhatna, miközben összehajtva kabátzsebben is elférne. A gyakorlatban azonban még számos kérdés vár válaszra, hiszen a tartósság, a gyűrődés kezelése és természetesen az ár mind komoly kihívást jelenthet. Az viszont biztosnak tűnik, hogy az Honor már most azon gondolkodik, mi jöhet a jelenlegi hajlítható generáció után.















